Zum Hauptinhalt springen Zur Suche springen Zur Hauptnavigation springen
Ihr Druckluft-Onlineshop – seit über 15 Jahren
Kompetente Fachberatung
Über 400.000 zufriedene Kunden
Ersatzteil-Service

Flanschkugelhahn, Stahlguss, DN20-PN40 (DIN/EN), DVGW

Passendes Zubehör

Das könnte Sie auch interessieren

DF Preisgarantie: Wir ziehen mit!

Sparen Sie sich den Vergleich: Sollten Sie einen unserer Artikel bei einem deutschen Wettbewerber (online oder im Ladengeschäft) günstiger entdecken, passen wir unser Angebot an. Sie zahlen bei uns garantiert nur den Mitbewerberpreis.

Um die Preisgarantie in Anspruch zu nehmen, füllen Sie bitte unser Preisgarantie-Formular aus.

Produktinformationen "Flanschkugelhahn, Stahlguss, DN20-PN40 (DIN/EN), DVGW"

Werkstoffe:

Gehäuse: Stahlguss, Kugel: Edelstahl 1.4301, Dichtung: PTFE / FKM

Temperaturbereich:

-20°C bis +180°C, Gas: -20°C bis max. +60°C (in Abhängigkeit zum Betriebsdruck)

Einsatzbereich:

Wasser, Öl, Druckluft, Vakuum (max. -0,9 bar), Kraftstoffe, Gase nach DVGW Arbeitsblatt bis 40 bar

Optional:

pneumatischer Antrieb* -P, elektrischer Antrieb* -EL

Vorteile:

•Baulänge nach DIN 3202-F4 (DIN EN 558-1, Reihe 14), •Montageflansch nach ISO 5211 erlaubt die Montage eines Antriebs in Verbindung mit Montagebrücke und Wellenadapter

*Bitte genauen Einsatzfall angeben.

Weitere Eigenschaften:

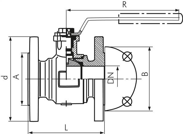
FlanschanschlussDN20-PN40 (DIN/EN)
Nennweite (mm)20
L (mm)120
Betriebsdruck (bar)-0,9 bis 40
A (mm)58
B (mm)75
d (mm)105
R (mm)130
ISO 5211F03
Gewicht3 kg / Stk.
Anschluss: DN20
Ausführung - Norm: 2-weg
Material: Stahl

Herstellerdaten

DF Druckluft-Fachhandel GmbH
Adresse: Hewlett-Packard-Straße 1, 71083 Herrenberg
E-Mail: info@druckluft-fachhandel.de

0 von 0 Bewertungen

Durchschnittliche Bewertung von 0 von 5 Sternen

Bewerten Sie dieses Produkt!

Teilen Sie Ihre Erfahrungen mit anderen Kunden.


Für Sie ausgesucht

Andere Kunden kauften auch